
- 定向推廣定義:
利用淘寶龐大的數據庫,通過創新的多維度定向技術,鎖定目標客戶,將您推廣的寶貝展現在目標客戶瀏覽的網頁上。

- 定向原理:
通過用戶的行為,構建用戶模型,將用戶興趣和需要映射到寶貝特征,將特征寶貝推薦 給用戶,實現精準營銷。
- 定向推廣特點:
流量巨大、精準投放、潛力巨大。定向推廣與直通車關鍵詞搜索的區別:搜索是人找寶貝,定向是寶貝找人!互補

定向的展現位置分為淘寶(天貓)站內和站外部分。
站內部分共有21個位置,部分重點位置截圖如下



站外的位置在我們的合作網站中可以通過BP后臺查看,包含且不僅僅是如下圖示的網站

站內定向流量每天約有1.4億,僅次于關鍵詞搜索1.5億,且定向流量集中度高!站內的旺旺焦點圖、已買到寶貝、收藏列表頁、物流詳情頁4個位置,每個位置每天均超過1000萬。

1.定向操作的主面板:在這里你可以暫停和開啟定向推廣、可以修改通投位置出價、可以添加單獨出價位置、可以查看各個位置的流量點擊等情況

2.定向推廣報表

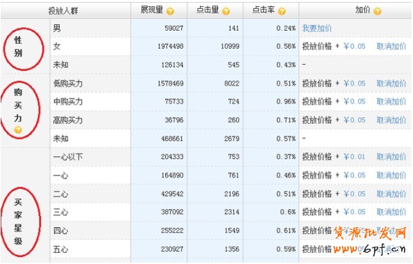
3.平臺、時間、人群維度截圖


4.量子統計定向實時

“聽說流量大,燒錢厲害,不易控制,我該怎么做?”
定向的諸多因素,比如,定向流量非常大且集中度高、定向概率展現的邏輯、定向寶貝池概念、旺旺焦點圖等重點位置流量的時段性等因素造成大家認為定向流量不穩定,燒錢厲害~。其實流大是好事,誰不希望自家的店鋪流量多,大家無非關心的是2件事:
1.定向的流量忽有忽無,比如前2天一直有定向流量同樣的出價,今天卻沒有,或者一天內早上有流量,下午卻沒有。
2.定向流量忽大忽小,造成資金預算不可控,我怎樣才能讓流量穩定?
針對第一個問題:當發現幾天或者一段時間來店鋪定向的流量忽有忽無的時候,首先懷疑出價是否處于進定向寶貝池的臨界值或者分時折扣導致出價偏低。可以通過緩慢調高出價,觀察量子統計直通車實時訪問來判斷。因為整個定向的競價是動態的,建議掌柜們每天調整出價。如果當天沒流量,調價后一般要到第二天才有流量。掌柜可以出價調高些等到有流量后可以降低出價。
如果遇到早上有流量下午沒流量的情況,大概有4種原因:
A 跟投放的位置有關系,像旺旺焦點圖,每天早上9-10點左右流量最大,物流詳情頁在下午下班前流量有個高峰。如果只投放了旺旺焦點圖,出價和質量分又不是很有競爭力的話,很有可能早上有流量而下午則沒有。
B.概率展現引起的,可以通過微微抬高出價測試。
C.突發情況,比如突然設置了分時折扣、賬戶達到日限額 被迫下線、寶貝違規被下架處罰。
D.定向整個競爭是動態的,尤其是熱門類目熱門位置,因此如果不是實時調整價格的話很有可能被其他掌柜的寶貝超越。
針對第二個問題,采用通投出價和單獨位置出價并舉的方式,設置定向計劃的日限額(建議定向獨立建一個計劃),觀察量子統計實時訪問數據,小幅度修改出價。
樂發網超市批發網提供超市貨源信息,超市采購進貨渠道。超市進貨網提供成都食品批發,日用百貨批發信息、微信淘寶網店超市采購信息和超市加盟信息.打造國內超市采購商與批發市場供應廠商搭建網上批發市場平臺,是全國批發市場行業中電子商務權威性網站。
本文來源: 直通車定向推廣入門圖解




