開直通車想要不燒錢是不可能的,但是要燒對地方才能有高的回報,我們就通過一個案例來分析一下,怎么樣燒直通車才叫做燒對了地方!
【診斷對象】:五金專營店,五金工具
【商家問題】:直通車推廣虧損嚴重,目前店鋪流量比較少,產品銷量不高,需要引入更多的流量以提升排名和自然流量。直通車不推沒流量,推起來又虧本,雖然能夠帶來一定成交,但是投入過大,入不敷出直通車又是必不可少的引流渠道。
【解決辦法】:直通車燒錢是我們看到的最終結果。實際上,一定是有某些渠道的流量質量會比較優質,換句話說就是會有不燒錢或是少燒錢的流量渠道,我們要做的就是把這些流量渠道找出來并區分開專門進行推廣。雖然不能一蹴而就直接讓直通車盈利,但是讓直通車少虧一點,再少虧一點,是我們每個店都可以做到的。
這個店鋪在2015年11月-2016年1月投入10908.74元,通過直通車獲得成交9169.48元,投入產出比為0.84,成交的還沒花出去的多,相當于產品貼錢白送,問題比較嚴重!毛利率為20%的店鋪,直通車投產比需要做到5以上才盈虧平衡。當然,從現在不到1的情況下一下子看到5是不現實的,直通車最近三個月的目標應當在滿足前面店鋪流量總述中提到,將推廣流量提升的情況下將投產比提升到2左右。雖然以現在的情況要翻2.5倍才能達到這個數值,但是基于目前基數實在太差的情況下,比較容易完成。

直通車燒錢是我們看到的最終結果。實際上,一定有某些渠道的流量質量比較優質,換句話說就是會有不燒錢或是少燒錢的流量渠道,我們要做的就是把這些流量渠道找出來并區分開專門進行推廣。
想要直通車的盈利水平好,投入產出比是關鍵。想要投產比高,在投入產出比較好的計劃、寶貝上投入更多費用;在表現不好的計劃寶貝上控制費用。除了計劃、寶貝、關鍵詞我們可以更進一步的擴展到流量來源(站內站外)、投放設備(PC無線)、再進一步到地域、定向、店鋪推廣等等。那么,這必須從直通車的架構開始,把架構搭建好了,店鋪推廣、無線、PC、定向單列計劃,我們才可以分設備對數據進行分解調整。正確的店鋪架構大概是像下圖這樣:

店鋪目前的計劃基本上只有兩種類型,普通計劃和軟件自動開車計劃,所有的計劃設置都一樣,只是將不同的產品放入不同的計劃中。實際上,我們可以按照不同情況對計劃的地域、投放比例、設備比例、人群選擇進行調整,將計劃按以下思路構建:
A、主推計劃:主推產品、大預算,重點推精準詞
B、輔推計劃:店鋪第二層級的輔推產品
C、泛推計劃:長尾計劃,推多產品,廣泛鋪詞
D、地域計劃:根據地域表現有側重推廣,重點確定投與不投地域
E、無線計劃:重點推無線與PC表現不同步,需要主推無線的產品
F、定向計劃:主推店鋪推廣
G、站外計劃:從長尾和主推中找出站外表現好的詞,只推此類詞
H、店鋪推廣:只推店鋪推廣,廣泛鋪詞
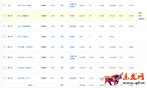
經過了兩個月的調整后,店鋪直通車最近一個月(2016年2月)有如下數據,花費4776元,成交19446的元,投產比達到4.07,提升效果比預期更好!

那么,直通車是否還有提升的空間呢?還可以比4的投產比更高嗎?當然,按照上述原理,推廣計劃2和3的投產比高,應該把推廣費用集中在這兩款產品上。推廣計劃4投產比非常差,可以考慮不要推廣這款產品,推廣費用放到推廣計劃2上,使推廣的效果最大化。

在流量來源方面店鋪的站外推廣效果都不好,要進一步提升投產比的效果可以把站外推廣的比例減小,第二和第三個推廣計劃雖然站外不及站內推廣效果好,如果利潤率能在27%以上的話,第二和第三推廣計劃可以暫時不調,把第一個第四個推廣計劃的站外比例降到50%以下。


從投放設備來看推廣計劃1,2的無線投放效果比PC好,可以提升無線溢價比例,計劃3無線溢價比例可以稍微降低,計劃4前面提到,平均產出只有0.65,在設備細分上我們看到了其中的原因,原來是無線的投產比太差拖了后腿,那么我們把計劃4的無線推廣關閉計劃4的投產比至少能提升一倍以上,那么這個計劃再稍微進行優化仍然是可以進行推廣的。
所以無論直通車現在是什么樣的狀況,一定是有某些渠道的流量質量是比較優質,換句話說就是會有不燒錢或是少燒錢的流量渠道,我們要做的就是把這些流量渠道找出來并區分開專門進行推廣,那么你會在盈利的路上走向成功,還是那句話,雖然不能保證每個店的直通車都能賺錢的,但是讓直車少虧一點、再少虧一點,是我們每個店都可以做到的。
樂發網超市批發網提供超市貨源信息,超市采購進貨渠道。超市進貨網提供成都食品批發,日用百貨批發信息、微信淘寶網店超市采購信息和超市加盟信息.打造國內超市采購商與批發市場供應廠商搭建網上批發市場平臺,是全國批發市場行業中電子商務權威性網站。
本文來源: 開直通車秘籍:燒錢得燒對地方!





